|
Аргонов А. В.
Основными потребителями электроэнергии в быту являются лампы. Их рациональное использование позволяет добиться значительной экономии.
Предлагаемое устройство предназначено для экономии электроэнергии с помощью автоматического управления освещением. Освещение включается, как только в помещение входит первый человек и выключается, когда выходит последний. Такой алгоритм исключает работу осветительных приборов при отсутствии людей в помещении и создает дополнительный комфорт.
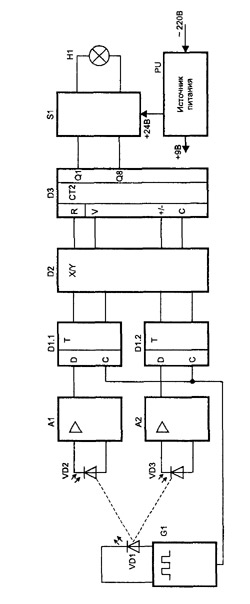
Функциональная схема устройства представлена на рис. 1, а принципиальная электрическая на рис. 2. Блок устанавливается в дверном проеме у входа в помещение на высоте 1,5 м от пола. Если в помещении предполагается пребывание детей, то высота установки должна быть уменьшена в соответствии с их ростом. На одной стороне дверного проема размещается источник ИК-излучения VD1, а на противоположной собственно автомат, на передней панели которого установлены фотоприемники VD2 и VD3.
Работа автомата основана на подсчете числа людей, проходящих через дверной проем и перекрывающих ИК-излучение, направленное на фотоприемники. Питание ИК-светодиодов осуществляется от генератора импульсного напряжения G1. От этого же генератора осуществляется синхронизация работы триггеров D1.1 и D1.2. Наличие двух ИК-лучей позволяет определить направление движения объекта. Подсчет осуществляется 4-х разрядным реверсивным двоичным счетчиком D3. Сигналы с выхода счетчика управляют коммутирующим устройством S1, которое в свою очередь включает и выключает источник света Н1. Сигналы управления режимом работы счетчика и сигнал счета вырабатываются при последовательном перекрытии фотоприемников.
На рис. 3 представлены диаграммы, поясняющие формирование сигналов управления. Когда кто-то входит в помещение, сигнал на выходе 2 триггера D1.1 опережает сигнал триггера D1/12. При движении в обратном направлении — очередность сигналов обратная. При помощи элемента D2.3 из этих сигналов формируется импульс счета, который поступает на вход 15 микросхемы D3. Направление счета реверсивного счетчика D3 (прямое или обратное) определяется сигналом на выходе триггера D1/1 в момент положительного фронта импульса счета. При лог. "1" на D3/10 счетчик работает на увеличение кода на выходе. Цепочки R12C6, R13C7 и R14C8 обеспечивают требуемые временные соотношения сигналов.
Для получения экономии электроэнергии собственное потребление автомата должно быть минимальным. В данном случае потребляемая от сети мощность не более 0,3 Вт, то есть за 5 часов работы (среднее суточное время работы) устройство потребляет столько же, сколько лампа 100 Вт за 1 минуту. Для снижения потребляемой мощности светодиод VD1 питается импульсным током с большой скважностью, вырабатываемым генератором на транзисторах VT4, VT5. Длительность импульса составляет 75 мкс, период следования 15 мс. Эти импульсы поступают на излучающий светодиод VD1 и входы синхронизации (С) триггеров D1.1 и D1.2. Импульсный режим работы ИК-излучателя позволяет также устранить влияние фоновой засветки фотоприемников. С этой целью усилители сигналов А1, А2 имеют спад АЧХ в области низких частот. Этот спад обеспечивает конденсатор С4. Конденсатор СЗ устраняет возбуждение усилителя в области высоких частот, а резистор R8 стабилизирует режим работы по постоянному току.
Усилитель имеет коэффициент усиления, достаточный для работы устройства при расстоянии между излучателем и фотоприемником до 1 м. При этом не требуется никаких дополнительных оптических узлов (линз, рефлекторов и т. д.), что значительно облегчает изготовление и позволяет избежать юстировки передатчика и приемника ИК-излучения при монтаже.

Рис. 1 Функциональная схема, где G1 — генератор ИК-импульсов;
А1, А2 — усилители сигнала; D1, D2 — формирователь импульсов
D3 — счетчик импульсов; S1 — коммутатор нагрузки

Рис. 2 Электрическая схема автомата, где S1 — переключатель режима работы
"ручное управление/автоматическое"; S2 — ручной выключатель освещения,
который уже установлен в помещении

Рис. 3 Временные диаграммы
На рис. 4 изображены диаграммы, поясняющие импульсный режим работы фотоприемников. Импупьсчый сигнал, поступающий с выходов усилителей А1 и А2, с помощью триггеров D1.1 и D1.2 преобразуется в сигналы постоянного уровня, необходимые для работы устройства.
При наличии импульсов на входе D триггеры устанавливаются в состояние лог. "1". При перекрывании фотоприемников на входе D импульсы отсутствуют и триггеры устанавливаются в состояние лог. "О". Сигналы с выходов триггеров через цепи задержки R12 С6, R13 С7, R14 С8 и элемент D2.3 поступают на реверсивный счетчик D3. Для упрощения дешифрации состояния счетчика в нем используется обратное направление счета и максимальное число его состояний ограничено 8. Элементы D2.1 и D2.2 обеспечивают первоначальную установку счетчика при включении питания в состояние 0111 (7 в десятичном коде). Это состояние соответствует нахождению в помещении одного человека. При входе второго человека устанавливается состояние 0110 (6 в десятичном коде) и так далее до состояния 0001 (1 в десятичном коде). Появление уровня лог. "1" на выходе D3/6 микросхемы вызывает срабатывание ключа на транзисторе VT9 и переключение поляризованного реле К1. Контакты реле подключают источник света Н1 к сети. При выходе из помещения последнего человека на выходе сетчика устанавливается состояние 1000 (8 в десятичном коде). Уровень лог. "1" на D3/2 вызывает срабатывание ключа на транзисторе VT10 и переключение поляризованного реле К1, контакты которого разрывают цепь лампы Н1.

Рис. 4 Форма напряжения на выводах триггера
Дифференцирующие цепочки R17 С12 и R20 С13 ограничивают время нахождения транзисторных ключей VT7, VT8 в открытом состоянии, благодаря чему реле К1 потребляет ток только в момент переключения контактов.
Питается устройство от двух однополупериодных выпрямителей +9 В и +24 В. Ток по цепи +24 В потребляется только в момент переключения реле К1, когда через одну из обмоток протекает импульс тока. Длительность этого импульса около 5 мс, поэтому практически питание реле происходит за счет накопленного конденсатором С17 заряда. Переключение реле происходит не чаще одного раза в секунду (чаще пройти через дверь вряд ли удастся), поэтому средний ток, потребляемый по цепи +24 В, будет пренебрежимо малым. Потребление по цепи +9 В не превышает 1,2 мА. Таким образом, устройство потребляет от блока питания мощность около 10 мВт. Маломощные трансформаторы имеют коэффициент полезного действия порядка 90 процентов, и поэтому можно предположить, что и от сети переменного тока будет потребляться мощность не намного больше 10 мВА. Однако ток холостого хода трансформатора может составлять 10 мА и более, что определяет потребление реактивной мощности от сети более 2 ВА, то есть в 200 раз больше ожидаемой. Цепочка R24-C18 позволяет компенсировать индуктивную составляющую тока первичной обмотки сетевого трансформатора, что снижает потребление тока от сети питания до величины менее 1,5 мА. Величина резистора R24 составляет 32 кОм и на нем падает напряжение около 45 В. При этом рассеивается мощность 50 мВт, а в качестве этого резистора можно применить резистор типа МЛТ-0,125 или аналогичный. Необходимо отметить, что без компенсирующего конденсатора С18 выделяемая мощность будет во много раз больше и резистор немедленно сгорит. Конденсатор С18 должен быть рассчитан на напряжение не менее 300 В. Величина этого конденсатора зависит от тока холостого хода (Ixx) трансформатора и рассчитывается по формуле:

Устройство собрано в корпусе размерами 145x75x50 мм. Эскиз корпуса представлен на рис. 5. На передней панели на расстоянии 120 мм друг от друга установлены фотодиоды. На боковой панели закреплен переключатель S1 и держатель предохранителя F1 (на рисунке они не показаны).
Корпус изготовлен из фольгированного стеклотекстолита. Боковые стенки соединяются пайкой, а передняя и задняя стенки крепятся винтами с потайными головками. После сборки корпус оклеен декоративной самоклеющейся пленкой. Излучающий светодиод монтируется на небольшой печатной плате и закрепляется на стене напротив основного блока так, чтобы излучение попадало на приемные фотодиоды.
Элементы схемы установлены на двух печатных платах. На основной плате (рис. 6 и 7) смонтированы генератор импульсов, усилители, узлы коммутации и источник питания. На дополнительной плате — цифровые микросхемы (она не показана). В качестве такой платы используется кусок подходящей универсальной макетной, а необходимые соединения выполнены проводом МГТФ. Дополнительная плата с микросхемами устанавливается на стойках над элементами основной платы. Такое конструктивное решение позволяет уменьшить габариты конструкции.

Рис. 5 Вид корпуса
При монтаже применены резисторы МЛТ-0,125 Вт, конденсаторы К50-6, К53-1, КМ-5, КМ-6, реле РПС-32 паспорт РС4.520.208.
Трансформатор Т1 выполнен на магнитопроводе типа ПЛ сечением 8x16. Обмотка I имеет 5500 витков, II — 450 витков, III — 175 витков, намотанных проводом ПЭВ-0,08. Вместо самодельного трансформатора можно использовать любой подходящий из серий ТН, ТАН, ТПП. Мощность большого значения не имеет, важно лишь наличие вторичных обмоток с напряжением 6...8 В и 18...20 В.
В этом случае конструкция устройства может несколько измениться. Можно, например, использовать трансформатор ТН-30. Подключается он следующим образом: напряжение 220 В подается на выводы 1 и 5 ( между 2 и 4 перемычка). Три вторичные обмотки соединяются последовательно (для этого устанавливаются перемычки 10—11 и 13—14). На выводах трансформатора 9 и" 16 при таком соединении получается напряжение около 19 В. На выводах 7 и 8 напряжение составляет 6,3 В.
Для каждого типа трансформатора необходимо рассчитать величину конденсатора С18. Величина резистора R24 выбирается такой, чтобы падение напряжения на нем составляло 40...50 В.

Рис. 6 Топология печатной платы
Микросхемы серии 564 можно заменить на соответствующие аналоги из серий 1564 и К561. Можно использовать практически любые маломощные транзисторы соответствующей проводимости. Транзисторы VT4-VT7 подойдут с коэффициентом усиления не менее 50. Транзисторы VT9, VT10 должны иметь максимальное допустимое напряжение эмиттер-коллектор не менее 30 В.

Рис. 7 Расположение элементов
Для увеличения мощности излучения можно включить последовательно 2 или 3 светодиода. Это может потребоваться при увеличенном расстоянии между источником и приемником ИК-излучения. Если не задаваться целью получения минимальной потребляемой мощности, то вместо поляризованного реле РПС-32 можно установить обычное реле или тиристор, соответствующим образом изменив схему.
При использовании исправных элементов и отсутствии ошибок в монтаже устройство не требует налаживания. |